Home /
Time:2022-08-23
View:415
When The Depth Of The Threaded Hole Is Not Enough After The Processing Is Completed, How To Repair It?
In the process of threading workpieces in the machining industry, it is sometimes encountered that the threaded holes on some workpieces have insufficient depth after the processing is completed due to unreasonable technology (the workpiece with the threaded hole is welded and then the end face of the threaded hole is processed), incorrect drawing reading by the processing personnel (wrong size) or operation errors (calculation errors, drilling shallow bottom holes, programming errors, and drilling and tapping threaded hole depth positioning errors) and many other factors.
Once such problems occur, due to the poor stability of the drilling machine, operators and process technicians often directly install the workpiece of the threaded hole to be repaired on the boring machine or milling machine workbench. After the correction and fastening, the threaded hole bottom hole drill bit is used to correct the inner diameter of the threaded hole. After the inner diameter of the threaded hole is corrected, the bottom hole is drilled to the depth of the pattern, and then it is repaired by tapping the thread with a tap.However, this method can easily cause the operator to “frictional cutting” of the original thread in the process of deepening the drilling of the bottom hole, which leads to the destruction of the existing thread and affects the processing quality of the threaded hole.
At the same time, this repair method requires the operator to have a good technical level, and the process of correcting the threaded hole takes a long time, and the work efficiency is very low. The cost of repairing it with boring and milling equipment is also relatively high.In addition, if the end face of the threaded hole is not perpendicular to the center line of the threaded hole due to reprocessing after being welded or other reasons, it will inevitably lead to the destruction of the existing thread in the process of secondary drilling of the threaded bottom hole, which will inevitably lead to the hidden dangers of scrap or downgrading of the threaded hole of the workpiece.After many discussions and experiments, we have found a series of tricks with relatively fast work efficiency and reliable and stable quality.
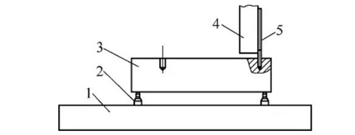
1. Method of Repairing Shallow Threaded Holes On a Rocker Drilling Machine
If the hardness of the workpiece material is high, it can be drilled and tapped on a rocker drilling machine when repairing its threaded holes.However, it is necessary to correct the centerline of the threaded hole parallel to the centerline of the main shaft of the drilling machine in the manner shown in Figure 1, and then directly use the drill bit to correct the centerline of the threaded hole and the drilling shaft of the drilling machine coaxial, and use the drill bit and tap to drill and tap the shallow-depth threaded hole according to the required size.
Steps To Repair Threaded Holes:
First, place the workpiece on the adjustable screws that have been arranged on the drilling machine table;
Secondly, screw the correction screw into the threaded hole to be repaired and tighten it to ensure that the centerline of the correction screw is consistent with the centerline of the threaded hole;
Then, keep the main shaft of the drilling machine close to the correction screw (a gap must be left to prevent the main shaft of the drilling machine from squeezing the correction screw and affecting the correction accuracy), and adjust the adjustable screw so that the correction screw is parallel to the main shaft of the drilling machine, gradually adjusting and leaning to ensure that its parallelism error is not greater than 0.03mm, you can use a piece of paper to pull the upper and lower parts between the main shaft of the drilling machine and the correction screw to make it evenly subjected to force;
Finally, install the drill chuck in the main shaft of the drilling machine, clamp the modified drill bit in the drill chuck, and insert the drill bit into the threaded hole to be repaired. After observing that the gap between the shank and the threaded hole is uniform, drill according to the required size, and replace it with tap tapping screws after the drilling is completed.

FIG. 1 The center line of the corrected threaded hole is parallel to the axis line of the drill shaft
1 -- table 2 -- adjustable screw 3 -- workpiece 4 -- drill press spindle 5 -- calibration lead screw
The production of modified drill bits is very simple, and the length of the drill blade of an old drill bit can be ground as far as possible to be enough.The straight shank part is evenly ground off or turned off by 1mm, so that there is a 1mm gap between it and the original threaded hole in the drilling, and the damage to the existing thread of the threaded hole will no longer occur.
The accuracy requirements of the correction screw are high. The threaded part must be coaxial with the straight shank part, and there must be no bending, and its length is generally 3 to 5 times the depth of the thread to be repaired to ensure the correction accuracy.
2. Method Of Repairing Shallow Threaded Holes With Pistol Drill
For larger, heavier, and softer workpieces (such as aluminum alloy workpieces) that need to repair the shallow depth of threaded holes with smaller diameters, pistol drills can be used to clamp the aforementioned modified drill bits and drill them directly, and then manually tap the thread (see Picture 2).

The method of repairing small threaded holes is very innovative, especially the use of old drill bit carts and modified drill bits after grinding. It is a small invention. It not only reuses waste materials, but also solves the more difficult and real problems in the industry.In the actual production process, the repair problem of shallow threaded holes can be effectively solved. The method is simple, practical, and can be popularized, which is worthy of promotion.